Design for the Environment/Frozen Yogurt Cups
This page is part of the Design for the Environment course

The following is a comparative Life Cycle Analysis (LCA) of three alternative materials for frozen yogurt cups. The client is Yogen Fruz, and the current baseline is Expanded Polystyrene (EPS). EPS sets the standard for the functional analysis. The cups must be able to hold 125 ml frozen yogurt, be less than 10 grams, not easily crushed, and should ideally be a thermal insulator. The first alternative is polylactic acid (PLA), a derivative of sweet corn glucose. The second alternative is bagasse, a by-product of sugar cane crushing. The functional unit for analysis is one million cups from preproduction through to the end of life. The motivation for this analysis was to determine the most environmentally friendly alternative, and to investigate the profitability and feasibility of investing in renewable products for cup production.
Highlights and Recommendations
From the various analysis tools used to look at the alternatives a rough ranking scheme is produced and tabulated below.
Summarised Results
| EIOLCA | SLCA | Cost | Societal | |
|---|---|---|---|---|
| Bagasse Rank | 1 | 2 | 2 | - |
| PLA Rank | 2 | 1 | 3 | 1 |
| EPS Rank | 3 | 3 | 1 | - |
This table does not provide a clear leader and so a more in depth discussion is required. Looking at the Economic Input Output Life Cycle Analysis (EIOLCA) results , it is shown that PLA and Bagasse have a similar environmental impact. However, it is not known whether the EIOLCA incorporates photosynthesis and the absorbtion of CO2 when growing corn in its results. As such the Global Warming Potential (GWP) output for PLA can be viewed as inflated. Further, when analysing the Streamlined Life Cycle Analysis (SLCA), Bagasse and PLA are very close. Since the SLCA is a subjective comparison tool, it is not reasonable to assume either product is superior from an environmental perspective based solely on these results.
The economic and societal impacts are leftover to judge these products. From an economic perspective, EPS cups are the clear winner. They are cheap and effective. Any client interested solely in direct economic costs would choose EPS cups, a choice which is reflected in day to day life by the ubiquity of EPS. However, from a societal perspective, PLA emerges as a highly effective product. It is deemed that the direct costs of PLA are likely to be offset by the positive brand image they represent. The 'green' factor of PLA cups is an obvious marketing tool. From these results, PLA is recommended as the most environmentally friendly and economically viable alternative.
Functional Analysis
EPS frozen yogurt cups are the baseline alternative, as such they define the functions that must be performed by the other alternatives in order to make a reasonable comparison. ‘Yogen Fruz’ frozen yogurt products are used to classify typical frozen yogurt cup requirements. A ‘Yogen Fruz’ serving size contains 125 ml [1] and is solid enough to be held comfortably by a person without crushing it. An EPS cup weighs approximately 2 g [2], for functional purposes however, any alternative cup should weigh less than 10 g, in order to be held comfortably by a person. The cups must be produced so they are stackable and wide enough for a spoon. Additionally, EPS has an R-value of 1.2 m² °C/W for a 51 mm thick insulation board [3] and is therefore a good thermal insulator. The functional unit analysed for all alternatives is one million cups.
Alternative 1: Bagasse Cups
Bagasse cups weigh 5 g, are soak proof and require no lining [4]. Furthermore, bagasse is often used in composite materials to minimize heat conduction and increase tensile strength and is therefore both sturdy and functional as an insulator [5]. Bagasse cups may be manufactured in 125 ml sizes [4]. It is assumed from this that a bagasse cup will function as well as an EPS cup.
Alternative 2: Polylactic Acid Cups
The mechanical properties of PLA are comparable to those of polyethylene-terephthalate [6] (PET). It can be assumed that the mass of one PLA cup is approximately the same as PET cup. Thus, the mass of one PLA cup is assumed as 2.5 grams. Given the small thickness of the cups, there is very little discrepancy between the insulation coefficient value of the PET cups and the PLA cups. PET cups are commonly used by large retailers such as Tim Hortons and Starbucks to sell frozen drinks [7]. It is assumed that it will not be uncomfortable to hold frozen yogurt in a cup made of PLA and that a PLA cup will function otherwise as well as an EPS cup.
Economic Input-Output Life Cycle Analysis
An Economic Input-Output Life Cycle Analysis (EIOLCA) is a publicly available tool for gauging the environmental impact of a product or service based on a dollar amount of production or use.
Methodology
The EIOLCA is governed by the 1997 U.S. Dept. of Commerce Industry Benchmark. As such, any dollar values input must be in 1997 USD. For this study the U.S. Consumer Price Index is used for all time conversions; The conversion factor is 0.758173333 from 2008 to 1997.
The packaging and shipping section of the EIOLCA is assumed only to be that required for the various internal processes. It is unnecessary to further complicate the EIOLCA with the addition of a shipping sector because the final comparison of packaging and shipping will be very similar for all three alternatives. The use phase is also ignored, because it is a disposable product with negligible environmental impact during its short use phase. Additionally, a mark up of 10% is assumed for the retail prices of all cup alternatives.
Expanded Polystyrene
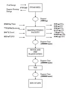
For the purpose of this study, the premanufacture and manufacturing phases of the life-cycle are organized as shown in the flow chart at right. End-of-life assumes that 100% of the EPS cups end up in land fills. While EPS is theoretically recyclable, in practice it is rarely accomplished [8].
Included in the available EIOLCA sectors is ‘Foam Product Manufacturing’. This sector includes the manufacturing of polystyrene cups as an activity. It is assumed that this sector does not incorporate the premanufacture phase of the life-cycle. According to Bishop, the cost of the styrene monomer is roughly 40% of the total manufacturing cost of an EPS product [9]. This 40% cost is input through the economic sector of ‘Petrochemical Manufacturing’, which is responsible for styrene production under the EIOLCA documentation.
A rough estimate for cost was gleaned from web searches for bulk cup sales. The cost used is averaged over three suppliers and is $0.025 per unit [10][11][12]. Including the markup, the cost to the manufacturer is $0.0225. Therefore, 1,000,000 cups create $22500 in direct economic activity for the ‘Foam Product Manufacturing’ sector. Converted to 1997 seven dollars for input this is equal to $17058.90. Following the life-cycle breakdown 40% of this value is input into the ‘Petrochemical Manufacturing’ sector. To account for end-of-life land filling a weight of 2 grams is assumed per cup [2]. The land filling cost for 2 tonnes of waste is $128.89 in 1997 USD [13]. This value is added to the ‘Waste and Remediation Services’ sector. A breakdown of the economic inputs is given in the table below.
EIOLCA inputs for EPS
| EIOLCA Sector | Input (1997 USD) |
|---|---|
| Foam Product Manufacturing | 17058.90 |
| Petrochemical Manufacturing | 6823.56 |
| Waste and Remediation Services | 128.89 |
Results
The pertinent results are given in the figure at right organised in descending order by the top 5 contributors to GWP. The results seem reasonable on an intuitive level; based on the flow chart given above it is logical that petroleum related industries would be major contributors. Additionally, the ‘Power Generation and Supply’ sector pollutes very heavily for little economic activity, its position is not surprising.
Sensitivity Analysis
By assuming that the premanufacture process is not incorporated in the ‘Foam Products Manufacture’ sector, more than $6823.56 of economic activity has been added to the life cycle. With a total of only $62000 of economic activity, this amounts to a 12% increase. In Table 2 it is clear that the relationship between GWP and the premanufacture input is linear. The $6823.56 input to the ‘Petrochemical Manufacturing’ sector contributes roughly 50% to the GWP of the EIOLCA. It is interesting to note that when the premanufacture input is set to $0 then all petrochemical contributions drop out of the top 5 contributors to GWP in the EIOLCA. The assumption is therefore justifiable based on the definition for premanufacture given in Appendix A – Fig. A2.
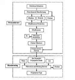
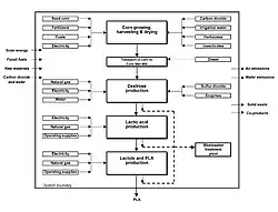
Polylactic Acid
In order to create an EIOLCA model of PLA frozen yogurt cups, it was necessary to create a custom sector in order to obtain meaningful data. Two sectors, wet corn milling and power generation and supply, were combined to create an approximate equivalent sector for the production of PLA cups. These two sectors were used because the material output of wet corn milling is dextrose, and after that, the only major input to manufacture the final product is energy (See right).
To find the required input value for wet corn milling, values were used from the LCA of Natureworks PLA written by Vink et al [14], the Wall Street Journal [15], and three internet retailers[16][17][18]. From these values, the cost of wet milled corn used to make one million cups was found to be $9700 in 2007. Converted to 1997 US dollars, this value is $7,360. This was the input for wet corn milling used in the final EIOLCA model.
The cost of energy required to make one million cups was found using the total energy used to create 1 kg PLA (54.1 MJ/kg) [14], the mass of one cup (2.5 g), and the cost of 1 TJ found from the linearity of the EIOLCA model ($8559/TJ). After calculations based on these values, the dollar input to the power generation and supply sector was $1157 for one million cups.
It was found in the EIOLCA of expanded polystyrene that the end of life phase has minimal influence on the overall GWP or total releases. Thus, it was not included in the model used for PLA.
EIOLCA inputs for PLA
| EIOLCA Sector | Input (1997 USD) |
|---|---|
| Wet Corn Milling | 7360.00 |
| Power Generation and Supply | 1157.00 |
Results
The final EIOLCA table can be found in the image to the right. When compared to the literature, the results are quite different. Vink et al records a GWP of about 1.9 kg CO2 eq./kg PLA [14]. When converted to one kg PLA, the EIOLCA gives a GWP of 19. From this alone, it is very clear that the EIOLCA is only a very approximate tool and cannot be relied on for very exact results, especially given the need to create a custom sector for PLA cups. One significant factor in this error is the lack of GWP offset in the EIOLCA model from the growth of the corn used to make PLA. In growing corn, significant amounts of CO2 are absorbed in photosynthesis. This would decrease the GWP of PLA substantially.
Sensitivity Analysis
A sensitivity analysis was conducted on the EIOLCA to find how much influence the source of energy has on the final GWP. This was done by varying the economic input to power generation and supply. Although the alternative sources of power would actually cost more, the GWP of these sources is minimal, so simply varying the economic input is a valid method of finding the sensitivity. The results of this analysis can be found right:
Bagasse
The resource extraction life stage for this analysis is considered to be an input of coal burning energy to displace the energy produced by burning bagasse, and a resulting output of bagasse. The EIOLCA sector for the bagasse premanufacture phase is the ‘Power Generation and Supply’. According to a study performed on a sugar cane mill in Catanduva, Brazil, every season 374400 tonnes of bagasse is burned to generate 119700 MWh of energy [19]. For the purpose of this study, this translates to 0.8688 kg Bagasse displaced per MJ. For the functional unit of 1 million cups, 5000 kg of bagasse is required (at 5 g/cup [4]) and therefore a total of 5755 MJ is required. It was calculated that $48.77 (1997 $USD) produces the appropriate energy (5755 MJ). According to the EPA [20], the emissions from burning bagasse in a boiler are summarized in the table below. These pollutants are subtracted from the final EIOLCA model in order to better reflect the displacement of bagasse burning.
Pollutants produced per 5000 kg bagasse burned
| Pollutant | Amount (mt) |
|---|---|
| PM-10 | 0.0031 |
| CO2 | 3.53802 |
| NOx | 0.00272 |
The EIOLCA sector used for the manufacturing life stage is ‘All other converted paper product manufacturing'. Outlined in the figure to the right is detailed information regarding the inputs to a bagasse cup manufacturing facility in China [21]. Scaled to the production of one million cups at 4 g/unit, the required electricity in the factory is 38764.84 kWh. By using the linearity of the EIOLCA model to set the electricity used, it was clear the sector does not represent the manufacturing of bagasse cups from pulp very well. The Motor Gas used in the sector was lower by a factor of 7.87 and the Natural gas was higher by a factor of 1.45 compared to the data given by Worldcentric. The following Hybrid-LCA was performed: The cost of one 4 oz. bagasse cup was averaged from sources [4][22][23] to be $0.04/cup. With an estimated 10% mark-up value for 1 million cups, the total cost in 1997 $USD is $27294.24. This total cost was used as an input into a hybrid version of the ‘All other converted paper product manufacturing’ sector which eliminates paper-specific and harvesting processes such as Logging and Sawmills in order to simulate the conditions for resource extraction. The following table provides a summary of inputs for the EIOLCA:
EIOLCA input for Bagasse
| EIOLCA Sector | Input (1997 USD) |
|---|---|
| Hybrid – All Other Converted Paper Product Manufacturing | 27294.24 |
| Power Generation and Supply | 48.77 |
From the output of this EIOLCA the pollutants from burning 5000 kg of bagasse are subtracted and the final results are given in the figure to the right.
Results
The displacement of bagasse as an energy source with coal burning is actually beneficial to the environment with a GWP of -2.846 Metric Tonnes CO2 Equivalent (MTCO2E). This is justified by the energy density, and emission factors [20] of each. The results obtained in the EIOLCA is compared to a process model (Bagasse Flow Chart, right) based on inputs obtained from Worldcentric [4] and outputs calculated based on the work of Das and Houtman [24]. The results of the two methods are markedly different, as expected. The EIOLCA is very general and not specific to bagasse or specific to different pulping processes. It is noted that the GWP emissions for the EIOLCA are a factor of 22.475/8.28 = 2.7 higher than that of the process model.
Sensitivity Analysis
The sensitivity analysis measures the effect of increased transportation costs on the GWP, and to find a maximum economic value to match the GWP of bagasse to the other alternatives. The results are illustrated in the figure to the right. The chart concludes that for a total economic value less than roughly $6000 into the transportation sector, bagasse will still have less GWP emissions than the baseline polystyrene. In order to transport 1 million cups by cargo ship from China to the United States, the price of a 8 ft x 8 ft x 20 ft container costs on average $1856[25] ($2005). Using the dimensions of the 4 oz cups at Worldcentric, roughly 430000 cups can fit in one bin.
Converting the cost per bin to $1997, and assuming 2 bins will ship 1 million cups. The cost is as follows:
1856($2005) = 1525.28 ($1997)
2*$1525.28 = $3050.56
Streamlined LCA
A Streamlined Life Cycle Analysis (SLCA) is a tool to rapidly assign quantitative values to a product or service. The process is outlined by T. Graedel in the work ‘Streamlined Life Cycle Analysis’ [26]. This method allows for a quick comparison of different products or services to provide direction for a more in depth life cycle analysis.
Methodology
In the case of frozen yogurt cups, the use phase is ignored for environmental impact, as it is effectively negligible. The major areas of concern are premanufacture, manufacture and end-of-life. Premanufacture and manufacturing each receive a weighting of 1.75 and end-of-life receives a weight of 1. The remaining 0.5 is assigned to shipping.
Expanded Polystyrene
The streamlined LCA (shown below) for EPS indicates that it is extremely hazardous to the environment. The low scores are mainly attributable to the premanufacture and end of life phases. This is expected as petrochemical processes are defined as the some of the most energy intensive processes by T. Graedel [26]. Additionally, EPS is not biodegradable and scores poorly in the solid-residues stressor of the end-of-life phase. These results correlate well with the EIOLCA results.
EPS Streamlined Life Cycle Analysis
| Material Choice | Energy Use | Gaseous Residues | Liquid Residues | Solid Residues | Sum | |
|---|---|---|---|---|---|---|
| Premanufacture (1.75) | 1 | 0 | 0 | 0 | 0 | 1.75 |
| Manufacturing (1.75) | 4 | 3 | 2 | 4 | 4 | 29.75 |
| Shipping/Transportation (0.5) | 4 | 2 | 2 | 4 | 3 | 7.5 |
| Use (0) | 4 | 4 | 4 | 4 | 4 | 0 |
| End of Life (1) | 2 | 1 | 2 | 4 | 0 | 9 |
| Weighted Total | 12.75 | 7.25 | 6.5 | 13 | 8.5 | 48 |
Polylactic Acid
In the both the SLCA and the EIOLCA the phase with the largest environmental impact is premanufacturing (shown below). This is because the processing of the corn into dextrose and the dextrose into PLA is energy intensive compared to the rest of the phases. The manufacturing only includes the moulding of the PLA into cups which requires energy, but not significant amounts compared to premanufacturing. Although the SLCA would suggest that PLA is beneficial compared to the alternatives, there is a large discrepancy between the results of the SLCA and the EIOLCA. This is likely because the EIOLCA was not capable of accurately representing the environmental impact of PLA. However, the results of the SLCA are more consistent with the results of two independent LCA papers which utilize different tools [14],[27]. Thus, the results of the SLCA, despite being less quantitative, may be interpreted as more meaningful than the EIOLCA.
PLA Streamlined Life Cycle Analysis
| Material Choice | Energy Use | Gaseous Residues | Liquid Residues | Solid Residues | Sum | |
|---|---|---|---|---|---|---|
| Premanufacture (1.75) | 4 | 1 | 2 | 1 | 3 | 11 |
| Manufacturing (1.75) | 4 | 1 | 4 | 4 | 4 | 17 |
| Shipping/Transportation (0.5) | 4 | 3 | 3 | 4 | 4 | 15 |
| Use (0) | 4 | 4 | 4 | 4 | 4 | 20 |
| End of Life (1) | 4 | 3 | 4 | 4 | 4 | 19 |
| Weighted Total | 20 | 8 | 16 | 14.75 | 18.25 | 77 |
Bagasse
It is clear in the streamlined LCA (shown below)that the largest source of environmental impact over the Life Cycle of bagasse cup production is the manufacturing phase. This is due to the energy used and wastes and emissions generated from the chemical pulping process. This correlates well with the results generated from the EIOLCA model, as “Power Generation and Supply” and “Paper and Paperboard Mills” (which includes pulping) are the largest sources of GWP. In addition, there is a large amount of emissions associated with the shipping of bagasse cups overseas, resulting in poor grading for the energy use and gaseous emissions in the transportation life stage. However, bagasse cups performed well in the resource extraction and disposal life stages – an expected result for a renewable, biodegradable material.
Bagasse Streamlined Life Cycle Analysis
| Material Choice | Energy Use | Gaseous Residues | Liquid Residues | Solid Residues | Sum | |
|---|---|---|---|---|---|---|
| Premanufacture (1.75) | 4 | 4 | 4 | 4 | 4 | 35 |
| Manufacturing (1.75) | 2 | 2 | 1 | 1 | 2 | 24.5 |
| Shipping/Transportation (0.5) | 4 | 1 | 1 | 3 | 3 | 3 |
| Use (0) | 4 | 4 | 4 | 4 | 4 | 0 |
| End of Life (1) | 4 | 4 | 4 | 4 | 4 | 20 |
| Weighted Total | 16.5 | 15 | 13.25 | 14.25 | 16 | 75 |
Cost Analysis
When designing a product for the environment it is difficult to assign economic value to many aspects of the life cycle. However, there are direct costs to a buyer that can be quantified when a purchase is made. These costs are summarised in the table below. The important costs are the initial product costs and the end of life costs. The end of life costs are assumed on a conservative basis, in that the end user will be ignorant of recycling facilities and an equal number of cups will end up in a land fill for each alternative.
Direct Costs Summary
| Unit Cost (2008 USD) | Direct Cost for 1,000,000 Cups (2008 USD) | Gross Weight (tonnes) | Landfill Costs (2008 USD) | Carbon Credit Cost (2008 USD) | Total Cost for 1,000,000 Cups (2008 USD) | |
|---|---|---|---|---|---|---|
| Baseline Polystyrene Cups | 0.025 | 25000 | 2 | 170 | 175.95 | 25345.95 |
| Alternative Bagasse Cups | 0.04 | 40000 | 5 | 425 | 129.20 | 40554.20 |
| Alternative Polylactic Acid Cups | 0.05 | 50000 | 2.5 | 212.5 | 249.7 | 50462.20 |
The carbon credit cost is a method of quantifying GWP with a dollar value. One carbon credit is worth one MTCO2E and these credits are traded online on the Chicago Climate Exchange [28]. The market value of one credit at the time of writing is $5.50. This market value is multiplied by the GWP given by the EIOLCA for each alternative.
The total costs to the buyer are lowest for the baseline polystyrene cups. This is a reasonable result based on the ubiquity of polystyrene cups in daily life. The important aspect of this data is that the direct costs of purchasing the cup are by far the most significant in the total costs. This cost outweighs any possible economic benefit derived from the lower environmental impact of the alternatives. Even if we assume that all of the bagasse cups are left to biodegrade and not land-filled, they are still $15208.25 more expensive to the buyer than the polystyrene cups. A similar issue arises with the polylactic acid cups, if they were recycled at 100% efficiency and at no cost (which is idealized and not possible) they are still $25193.50 more expensive than the baseline. It is clear that the unit cost is the most important property of any alternative from a purely economical point of view.
The indirect economic aspects are the long term costs of global warming and land consumption and are not as easy to quantify. Polystyrene is not biodegradable [29], when it ends up in a land fill it will continue to take up that space indefinitely. This results in a cost of land use to the average citizen through taxes. This space usage does not occur with bagasse or PLA when they are properly recycled or composted. The GWP of the various alternatives results in air pollution, health problems and other environmental issues. The indirect costs associated with each alternative were assumed to be insignificant in determining a final recommendation on the order of one million cups.
Societal Analysis
Although the difference in costs to Yogen Fruz for the various alternatives is significant, the effect on the end cost of the frozen yogurt is very small. PLA cups would cost Yogen Fruz double what EPS cups would cost. However, one small frozen yogurt costs about $4.00 [1]. Thus, the final influence of $0.025 on the final product cost is not very significant. This cost can be balanced by the positive brand image resulting from being more environmentally friendly.
Another societal influence on the viability of the different alternatives is aesthetics. While bagasse is in fact cheaper than PLA, it is being used on a smaller scale in North America. This is likely because it does not look as appealing as PLA which is clear and easily printable. Once again, the difference in cost per cup is negligible compared to the increased aesthetic appeal of PLA.
References
- ↑ 1.0 1.1 Yogen Fruz, “Our Products”, Accessed: March 2008, Available: http://www.yogenfruz.com/home/our-menu
- ↑ 2.0 2.1 “Engineering and Society,” Lecture notes for MECH1040, Faculty of Engineering, University of Newcastle, Australia, 2004.
- ↑ “R value of EPS,” Accessed: March 2008, Available: http://www.legerlite.ca/En/R_Value.html
- ↑ 4.0 4.1 4.2 4.3 4.4 Worldcentric, “Biodegradable & Compostable Bagasse Cups (Sugar Cane Fibre)”, http://www.worldcentric.org/store/fibercups.htm, Accessed: March 2008.
- ↑ B. Ramaraj, "Mechanical and thermal properties of polypropylene/sugarcane Bagasse composites," in Journal of Applied Polymers, Wiley Subscription Services, Inc, Tech. Rep. pp 3827-3832, 2007.
- ↑ “Twintex® PET Presentation” Saint-Grobain Vetrotex
- ↑ "SOLO Foodservice Stock Product Guide," Solo Cup Operating Corporation, Accessed March 2008, Available: www.solocup.com
- ↑ Canplastics, “CPRA sold to Port Hope Recycler,” Accessed March 2008, Available: http://www.canplastics.com/issues/ISArticle.asp?id=81342&issue=03112008&ref=rss
- ↑ R.B. Bishop, Practical Polymerization for Polystyrene, Boston: Cahners Books, 1971.
- ↑ “Retail Price of Foam cups,” Available: http://www.bizrate.com/breakroomsupplies/products__keyword--dart+cup+foam.html
- ↑ “Retail Price of Foam cups,” Available: http://www.dartcontainer.com/web/products.nsf/pages/SmallDrinkCA
- ↑ “Retail Price of Foam cups,” Available: http://www.instaoffice.com/Foam-Cups.0.4.9077.0.0.8.htm
- ↑ “Ottawa Trail Waste Facility Tipping Fees,” Accessed March 2008, Available: http://www.ottawa.ca/city_services/recycling_garbage/landfill/trls_tipping_fee_en.html
- ↑ 14.0 14.1 14.2 14.3 Vink E., Rábago K., Glassner D. and Gruber P. “Applications of life cycle assessment to NatureWorks™ polylactide (PLA) production,” Polymer Degradation and Stability 80 (2003).
- ↑ Etter L. “New Grain Report Is Likely To Make Waves,” Wall Street Journal, March 29, 2008.
- ↑ ”Retail Price of PLA cups,” Available: http://biodegradablestore.com/pp/accessories/pp_sample_cups_C_S.html
- ↑ ”Retail Price of PLA cups,” Available: http://dgs.greenhome.com/products/institutional_sales/food_service/112508
- ↑ ”Retail Price of PLA cups,” Available: http://www.sala-dfsp.com/Compostable/WC/CSouffleCups.htm
- ↑ “Brazil: Catanduva Sugarcane Mill, Biomass Power Plant Expansion,” www.clima.org.br/arquivos/cerupt-2002_jul-catanduva_pdd.pdf, July 2002, Accessed: March 2008.
- ↑ 20.0 20.1 "Compilation of Air Pollutant Emission Factors,” Volume 1: Stationary Point and Area Sources, in AP 42, Volume I, Fifth Edition, http://www.epa.gov/ttn/chief/ap42/ 2008, Accessed: March 2008.
- ↑ A. Ching (Anna@Worldcentric.org), "Re: Bagasse cups," March 19, 2008.
- ↑ Greenhome, "Cups – Bagasse," 2008, http://dgs.greenhome.com/products/institutional_sales/food_service/109753/, Accessed: March 2008.
- ↑ SALA-GROUP, “Compostable/Biodegradable Food Service Products”, http://www.sala-dfsp.com/Compostable/WC/BCups.htm, Accessed: March 2008.
- ↑ T.Das & C.Houtman, "Evaluating Chemical-, Mechanical-, and Bio-pulping processes and Their Sustainability Characterization using Life Cycle Assessment,” Wiley Interscience, November 2004, Accessed: March 2008.
- ↑ K.Park & D. Ryan , "Container shipping glut threatens freight rates," 2005, http://www.iht.com/articles/2005/11/02/bloomberg/sxfreight.php, Accessed: March 2008.
- ↑ 26.0 26.1 T. Graedel, “Streamlined Life Cycle Assessment,” Prentice-Hall, 1998.
- ↑ Johansson M. “Life cycle assessment of fossil and bio based materials for 3D shell applications” online article, Royal Institute of Technology (2005).
- ↑ “CCX Market Overview,” Accessed March 31st 2008, Available: http://www.chicagoclimatex.com/
- ↑ M. Reilly, “Campus Trashes Polystyrene Packages,” Oct. 2001, Accessed: March 2008, Available: http://media.www.dailytargum.com/media/storage/paper168/news/2001/10/31/News/Campus.Trashes.Polystyrene.Packages-135877.shtml